公司简介
COMPANY

----------------

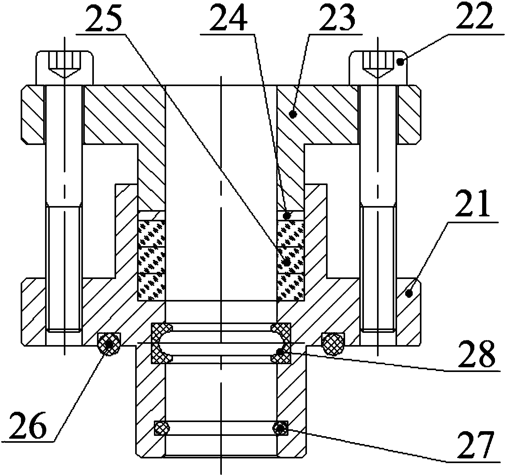
【乐邦 供应 fs9833 滤清器,fs9833 乐邦滤清器厂价格,图片,配件厂家】

新乡市平原工业滤器有限公司成立于2005年11月09日,注册地位于新乡市高新区老丰华街1126号,法定代表人为樊蓉勇。经营范围包括过滤器、过滤装置、净化设备、传动系统、电磁阀、液压阀、机电产品、开关活门的设计、制造、销售及进出口业务和技术服务;房屋租赁。新乡市平原工业滤器有限公司对外投资1家公司。

企业信息
Information

----------------

公司名称:新乡市平原工业滤器有限公司

法人代表:樊蓉勇

注册地址:

所属行业:通用设备制造业

更多行业:液压动力机械及元件制造,泵、阀门、压缩机及类似机械制造,通用设备制造业,制造业

经营范围:过滤器、过滤装置、净化设备、传动系统、电磁阀、液压阀、机电产品、开关活门的设计、制造、销售及进出口业务和技术服务;房屋租赁。